 
發布時間:2019-11-05 08:32 瀏覽次數:12557
|  工作原理: | 
旋轉活塞燃油流量計,是屬于容積式流量計,它基于活塞與計量室一直保持相切密封狀態,并且有一個固定的偏心距的計量元件活塞,在流體的壓差作用下對活塞產生轉動力距,使活塞做偏心旋轉運動,活塞的轉數正比于流體的流量,從而通過記數機構記錄出它的轉數,即可測得流體流量。
|  用途及特點: | 
該旋轉活塞燃油流量計,是引進日本選進技術設計生產的一種流量儀表,它可以測量重柴油;原油;重油及符合粘度要求范圍內的石油介質流經管道總量,它具有工作可靠,壓力損失小,精度高等優點。
|  儀表的調校: | 
儀表出廠時,調至精度范圍內,但由于長時間使用以及安裝不當等原因,可能出現誤差增大現象,所以,該表應定期標定(一、二年標定一次),出廠時沒帶調整誤差齒輪,如儀表需要修正時,可與我廠聯系更換齒輪,以便提高和保證儀表精度。
|  主要技術指標: | 
| 主要技術指標型號 | LS-13B | LS-20B | LS-25B | 
| 公稱口徑DN | 13 | 20 | 25 | 
| 流量范圍L/n | 30-240 | 60-800 | 120-1600 | 
| 精 度 | 0.5;1.0 | ||
| 公稱壓力MPa | ≤1 | ||
| 工作介質溫度 | ±100℃ | ||
| 燃燒溫度℃ | ≤100℃ | ||
| 燃油粘度CPa·S | 1-l2 | ||
| 壓力損失MPa | ≤0.05 | ||
| 最大累計值L | 99999999 | ||
| 配套濾油器 | 能過濾出最小尺寸0.1mm以上的雜質 | ||
|  外形尺寸: | 
| 
							旋轉活塞燃油流量計的外形尺寸 | ||||||||
| 項目 | 外形尺寸 | 法蘭尺寸 | ||||||
| 公稱口徑DN | L | H | B | 公稱壓力MPa | 法蘭形式 | D | C | d | 
| 13 | 140 | 196 | 120 | 1.0 | JB81-59 | Φ95 | Φ65 | Φ14 | 
| 20 | 160 | 195 | 120 | Φ105 | Φ75 | Φ14 | ||
| 25 | 220 | 223 | 120 | Φ115 | Φ85 | Φ14 | ||
| 
							濾油器的外型尺寸 | ||||||||
| 項目 | 外形尺寸 | 法蘭尺寸 | ||||||
| 公稱口徑DN | L | H | B | 公稱壓力MPa | 法蘭形式 | D | C | d | 
| 13 | 130 | 110 | 95 | 1.0 | JB81-59 | Φ95 | Φ65 | Φ14 | 
| 20 | 220 | 163 | 120 | Φ105 | Φ75 | Φ14 | ||
| 25 | 230 | 188 | 120 | Φ115 | Φ85 | Φ14 | ||
			 
           
			 
|  結構: | 
			  旋轉活塞流量計是由測量機構和計數機構兩部組成。
			  測量機構包括:主體、計量組件(活塞等)和傳動機構
			  計量組件是由旋轉活塞、隔板、偏心輪等組成,隔板位于徑向平面,活塞與計量室中心有一固定偏心距,并且活塞內,外壁與計量室始終有一相切處,把油腔分成兩部分。
			  活塞的轉動是通過磁性聯軸節傳遞記數機構的,連接部分用銅套和密封圈密封因而保證了儀表的密封。
			  儀表的記數機構,是采用齒輪減速機構和機械式的八位記數輪組成。
			  在測量機構與記數機構之間,裝有調整誤差的齒輕調差機構,以便校表時調整儀表的誤差。
|  安裝與使用: | 
			  流量計與配套的濾油器,必須安裝在無腐蝕,無灰塵,無震動,無壓力波動及便于安裝,檢查,維護的地方,而且要有防潮、防雨措施。
			  被測液體凍結會損壞流量計,因此,凡是安裝在室外的流量計必須有保溫措施。
			  流量計應盡可能裝在壓力管線上,使得設備停止運轉期間被測液體仍充滿計量腔。
			  安裝前,一定要將管道沖洗干凈,徹底清除留在管道內的臟物及雜質。
			  該流量計必須與濾油器配套使用而用水平安裝(即表盤在水平位置),安裝時要注意流體流向,應符合流量計主體上的箭頭所示方向。為了使工藝設備不停止運轉即可檢修流量計與清洗濾油器,應裝設副管線,可參照下面的安裝示意圖。
			
			
			安裝示意圖
			  安裝完成后,要關閉流入流出閥門,然后打開旁路閥門,先使流體通過旁路流通,沖洗充足后,慢慢打開流入流出閥門,然后關閉旁路閥門。
			  流量計應在較小流量下啟動,并檢查計數器是否靈活轉動,然后增加流量,盡可能增致最大,這樣表內的殘留空氣可以被帶走。
			  必須在此儀表規定的壓力、溫度、粘度、精度。流量范圍內使用。
|  維護與故障處理: | 
使用旋轉活塞流量計,應當注意被測液體的特性,如溫度、壓力、粘度,流量范圍等是否符合儀表規定。使用中要定期檢查與清洗濾油器,每運轉500小時清洗一次過濾網。
| 故障 | 原 因 | 消除辦法 | |
| 
							讀數 | 
							被測介質含空氣 | 1、流量表處于真空而把空氣吸入 2、被測介質含有空氣或放出氣體 3、由于溫度高,被測介質蒸發 | 改裝設備或安裝氣體分離器 | 
| 4、壓力罐帶來的空氣 | 安裝穩定器或氣體分離器 | ||
| 
							讀數 | 1、油泵輸出量太小或管道堵塞 2、出口接至密封容器設有通氣孔 | 
							 改變安裝線路, | |
| 3、過濾網堵塞 | 清洗濾網 | ||
| 4、旋轉活塞和計量室之間的尺寸公差太大,活塞磨損 | 
							 1、活塞磨損不嚴重是由傳動齒輪造成的,需要更齒輪 | ||
| 
							被測液體 | 活塞不旋轉 | 1、計量室不干凈 2、計量室有外來雜質 | 清洗流量表 | 
| 3、活塞和計量室有腐蝕 | 更換流量表 | ||
| 活塞硬裂 | 更換活塞 | ||
| 1、磁性聯接裝置,記數機構被損壞 | 拆開流量計檢查處理或更換零件 | ||
| 2、蝸輪蝸桿脫開(不嚙合) | 松開蝸輪頂絲,調整蝸輪蝸桿嚙合間隙,使之正確嚙合 | ||
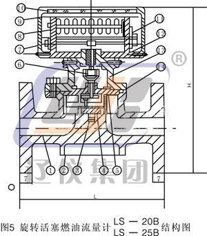
|  結構示意圖: | 
|  1 計量室蓋 2 槽輪 3 定心軸 4活塞 5主體 
							6 外磁鋼   7 表頭罩   8 記數輪    9表盤   10 面罩 11調差齒輪 12 表頭體 13 上蓋 14 O型密封圈 |  
							圖5旋轉活塞燃油流量計LS-13B結構圖 1 計量室蓋 2 槽輪 3 定心軸 4活塞 5主體 6 外磁鋼 7 表頭罩 8 記數輪 9表盤 10 面罩 11 表頭體 12調差齒輪 13上蓋 14減速機構 15 O型密封圈 | 
Phone: 13352349933
Tel: 0419-2122560 0419-2123500
Email: lyyb1958@163.com
Add: 注冊地址:遼寧省遼陽市白塔區衛國路67號 生產地址(郵寄地址):遼寧省遼陽市宏偉區光華街12號
